资质查询
主页 协会资讯 行业资讯
政策法规 协会推荐 会员中心 关于协会 联系我们
  • 协会简介
  • 资质查询
  • 协会章程
  • 组织架构
  • 入会申请
  • 投诉维权
  • 企业风采
  • 协会推荐
  • 协会资讯
  • 消毒资质查询 11-05
  • 幼儿园室内空气达标单位展示 05-23
  • 洁净技术协会会员大会圆满召开 01-10
  • 专委会王主任继续走访会员单位! 01-10
  • 2019年河南室内环境质量专业委员会 01-10
  • 专委会第一次会议 01-09
  • 专委会第一次会议 01-09
  • 专委会第一次会议 01-09
  • 专委会第一次会议 01-09
  • 走访如意如愿实业 01-09
  • 走访顶峰环保 01-09
  • 走访绿亿源环保 01-09
  • 全国环保行业高质量发展高峰论坛顺 01-09
  • 河南省洁净协会劳动调解中心召开业 01-09
  • 专委会王主任带领人员走访常务副主 01-09
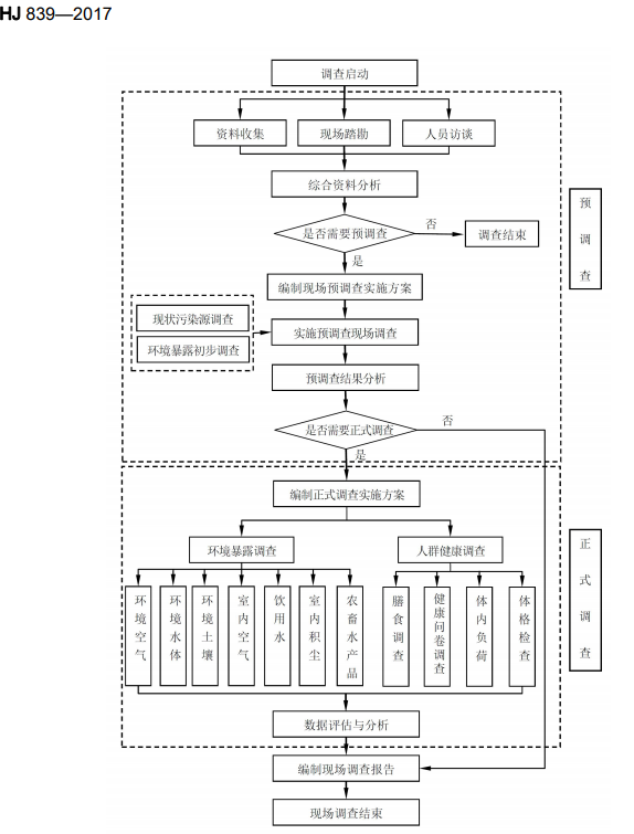
  • 环境与健康现场调查技术规范

    image.png

    image.png


     
     

    版权所有:河南中环高科检测技术服务有限公司-空气净化协会   
    联系人:张先生固话:0371-60983153
    豫ICP备19018311号-2
    地址:郑州市北三环72号中建大厦B座2203室